Электрический воздухонагреватель для круглых каналов серии ЭНК
- Нагревательные элементы из нержавеющей стали
- Встроенные биметаллические термовыключатели
- Оцинкованный стальной корпус
- ТЭНы повышенной надежности
- Температура эксплуатации -45...+40 °С
- Класс защиты корпуса нагревателя IP 21
Описание
- Электрические воздухонагреватели предназначены для подогрева воздуха в системах приточной вентиляции или как вторичные подогреватели в отдельных помещениях, где требуется индивидуальная регулировка температуры
- Диапазон мощностей – от 0,5 до 24,0 кВт
- Встроенные биметаллические термовыключатели
- Возможность регулировки температуры с помощью дополнительных коммутационных приборов (приобретаются самостоятельно)
Конструктив
- Корпус из оцинкованной стали
- Нагревательные элементы (ТЭНы) повышенной надежности из нержавеющей стали
- Класс защиты корпуса нагревателя IP 21
Условия эксплуатации
- Климатическое исполнение по ГОСТ 15150: У3 (для эксплуатации в помещениях)
- Температура окружающей среды от -45°С до +40°С
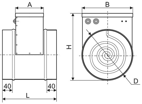
Габаритные и присоединительные размеры (мм)

|
Модель электронагревателя |
Мощность, кВт |
А |
В |
D |
Н |
L |
|
ЭНК 100 |
0,5-2,0 |
275 |
100 |
100 |
190 |
375 |
|
3,0 |
503 |
650 |
||||
|
ЭНК 125 |
1,0-3,0 |
275 |
125 |
125 |
215 |
375 |
|
ЭНК 160 |
1,5-4,5 |
275 |
160 |
160 |
270 |
375 |
|
ЭНК 200 |
1,5-6,0 |
275 |
200 |
200 |
290 |
375 |
|
ЭНК 250 |
3,0-9,0 |
275 |
250 |
250 |
345 |
375 |
|
ЭНК 315 |
4,5-9,0 |
275 |
315 |
315 |
410 |
375 |
|
12,0-18,0 |
503 |
650 |
||||
|
ЭНК 355 |
6,0-12,0 |
275 |
355 |
355 |
455 |
375 |
|
18,0-24,0 |
503 |
650 |
||||
|
ЭНК 400 |
9,0-12,0 |
275 |
400 |
400 |
500 |
375 |
|
18,0-24,0 |
503 |
650 |
Технические характеристики круглых электрических нагревателей серии ЭНК
|
Модель электронагревателя |
D, мм |
Мощность, кВт |
Напряжение/ частота, В/50Гц |
Ток, А |
Минимальный расход воздуха, м³/ч |
Схема подключения |
Масса, кг |
|
ЭНК 100/0,5 |
100 |
0,5 |
220 |
2,27 |
50 |
ЭНК-1 |
1,6 |
|
ЭНК 100/1,0 |
1,0 |
4,55 |
ЭНК-1 |
1,7 |
|||
|
ЭНК 100/1,5 |
1,5 |
6,82 |
ЭНК-1 |
1,7 |
|||
|
ЭНК 100/2,0 |
2,0 |
9,09 |
ЭНК-1 |
1,7 |
|||
|
ЭНК 100/3,0 |
3,0 |
13,64 |
ЭНК-1 |
1,8 |
|||
|
ЭНК 125/1,0 |
125 |
1,0 |
220 |
4,55 |
90 |
ЭНК-1 |
1,8 |
|
ЭНК 125/1,5 |
1,5 |
6,82 |
ЭНК-1 |
2,0 |
|||
|
ЭНК 125/2,0 |
2,0 |
9,09 |
ЭНК-1 |
2,0 |
|||
|
ЭНК 125/3,0 |
3,0 |
13,64 |
ЭНК-1 |
2,0 |
|||
|
ЭНК 160/1,5 |
160 |
1,5 |
220 |
6,82 |
150 |
ЭНК-1 |
2,3 |
|
ЭНК 160/2,0 |
2,0 |
9,09 |
ЭНК-1 |
2,5 |
|||
|
ЭНК 160/3,0 |
3,0 |
13,64 |
ЭНК-1 |
2,7 |
|||
|
ЭНК 160/4,5 |
4,5 |
380 |
6,84 |
ЭНК-2 |
2,7 |
||
|
ЭНК 200/1,5 |
200 |
1,5 |
220 |
6,82 |
230 |
ЭНК-1 |
2,7 |
|
ЭНК 200/2,0 |
2,0 |
9,09 |
ЭНК-1 |
2,7 |
|||
|
ЭНК 200/3,0 |
3,0 |
13,64 |
ЭНК-1 |
2,9 |
|||
|
ЭНК 200/4,5 |
4,5 |
380 |
6,84 |
ЭНК-2 |
3,2 |
||
|
ЭНК 200/6,0 |
6,0 |
9,12 |
ЭНК-2 |
3,2 |
|||
|
ЭНК 250/3,0 |
250 |
3,0 |
220 |
13,64 |
350 |
ЭНК-1 |
3,9 |
|
ЭНК 250/4,5 |
4,5 |
380 |
6,84 |
ЭНК-2 |
3,7 |
||
|
ЭНК 250/6,0 |
6,0 |
9,12 |
ЭНК-2 |
3,9 |
|||
|
ЭНК 250/7,5 |
7,5 |
11,4 |
ЭНК-2 |
4,1 |
|||
|
ЭНК 250/9,0 |
9,0 |
13,67 |
ЭНК-2 |
4,3 |
|||
|
ЭНК 315/3,0 |
315 |
3,0 |
220 |
13,0 |
560 |
ЭНК-1 |
3,3 |
|
ЭНК 315/4,5 |
4,5 |
380 |
6,84 |
ЭНК-2 |
4,2 |
||
|
ЭНК 315/6,0 |
6,0 |
9,12 |
ЭНК-2 |
5,1 |
|||
|
ЭНК 315/7,5 |
7,5 |
11,4 |
ЭНК-2 |
5,1 |
|||
|
ЭНК 315/9,0 |
9,0 |
13,67 |
ЭНК-2 |
5,1 |
|||
|
ЭНК 315/12,0 |
12,0 |
18,23 |
ЭНК-2 |
8,0 |
|||
|
ЭНК 315/15,0 |
15,0 |
22,79 |
ЭНК-2 |
8,0 |
|||
|
ЭНК 315/18,0 |
18,0 |
27,35 |
ЭНК-2 |
8,0 |
|||
|
ЭНК 355/6,0 |
355 |
6,0 |
380 |
9,12 |
740 |
ЭНК-2 |
5,4 |
|
ЭНК 355/9,0 |
9,0 |
13,67 |
ЭНК-2 |
5,4 |
|||
|
ЭНК 355/12,0 |
12,0 |
18,23 |
ЭНК-2 |
5,4 |
|||
|
ЭНК 355/18,0 |
18,0 |
27,35 |
ЭНК-2 |
9,4 |
|||
|
ЭНК 355/24,0 |
24,0 |
36,46 |
ЭНК-2 |
9,5 |
|||
|
ЭНК 400/9,0 |
400 |
9,0 |
380 |
13,67 |
900 |
ЭНК-2 |
6,0 |
|
ЭНК 400/12,0 |
12,0 |
18,23 |
ЭНК-2 |
6,0 |
|||
|
ЭНК 400/18,0 |
18,0 |
27,35 |
ЭНК-2 |
10,3 |
|||
|
ЭНК 400/24,0 |
24,0 |
36,46 |
ЭНК-2 |
11,9 |
Схемы подключения круглых электрических нагревателей серии ЭНК
Данные схемы подключения являются примером обязательного использования биметаллических термовыключателей защиты нагревателя от перегрева t1, t2 в цепях управления силовой частью ЭНК. Категорически запрещается подключать электронагреватель без использования в его цепи управления силовой частью биметаллических термовыключателей защиты от перегрева t1, t2, в противном случае это может привести к пожару или несчастному случаю.
Маркировка:
Нагреватель электрический круглый ЭНК 400/9,0
где: ЭНК – серия канального нагревателя;
400 – типоразмер (по диаметру присоединения), мм;
9,0 – мощность нагревателя, кВт.
Ниже представлены характеристики моделей электронагревателей с характеристиками распродажи
Габаритные и присоединительные размеры (мм) ЭНК (с характеристиками распродажи)

|
Модель электронагревателя |
А |
В |
D |
Н |
L |
|
Электронагреватель ЭНК 100/1,0 кВт 380В |
275 |
100 |
100 |
190 |
375 |
|
Электронагреватель ЭНК 100/2,0 кВт 380В |
275 |
100 |
100 |
190 |
375 |
|
Электронагреватель ЭНК 160/0,6 кВт 220В |
275 |
160 |
160 |
270 |
375 |
|
Электронагреватель ЭНК 160/1,2 кВт 220В |
275 |
160 |
160 |
270 |
375 |
|
Электронагреватель ЭНК 160/1,8 кВт 220В |
275 |
160 |
160 |
270 |
375 |
|
Электронагреватель ЭНК 160/2,4 кВт 220В |
275 |
160 |
160 |
270 |
375 |
|
Электронагреватель ЭНК 250/2,5 кВт 380В |
275 |
250 |
250 |
345 |
375 |
|
Электронагреватель ЭНК 250/7,5 кВт 380В |
275 |
250 |
250 |
345 |
375 |
|
Электронагреватель ЭНК 315/3,0 кВт 380В |
275 |
315 |
315 |
410 |
375 |
|
Электронагреватель ЭНК 315/9,0 кВт 380В |
275 |
315 |
315 |
410 |
375 |
|
Электронагреватель ЭНК 315/18,0 кВт 380В |
503 |
315 |
315 |
410 |
650 |
Технические характеристики круглых электрических нагревателей серии ЭНК (с характеристиками распродажи)
|
Модель электронагревателя |
D, мм |
Мощность, кВт |
Напряжение/ частота, В/50Гц |
Ток, А |
Минимальный расход воздуха, м³/ч |
Схема подключения |
Масса, кг |
|
Электронагреватель ЭНК 100/1,0 кВт 380В |
100 |
1,0 |
380 |
2,7 |
50 |
ЭНК-3 |
1,6 |
|
Электронагреватель ЭНК 100/2,0 кВт 380В |
2,0 |
5,3 |
ЭНК-4 |
1,7 |
|||
|
Электронагреватель ЭНК 160/0,6 кВт 220В |
160 |
0,6 |
220 |
2,8 |
150 |
ЭНК-1 |
2,3 |
|
Электронагреватель ЭНК 160/1,2 кВт 220В |
1,2 |
5,5 |
2,3 |
||||
|
Электронагреватель ЭНК 160/1,8 кВт 220В |
1,8 |
8,2 |
2,5 |
||||
|
Электронагреватель ЭНК 160/2,4 кВт 220В |
2,4 |
11 |
2,5 |
||||
|
Электронагреватель ЭНК 250/2,5 кВт 380В |
250 |
2,5 |
380 |
6,6 |
350 |
ЭНК-3 |
3,9 |
|
Электронагреватель ЭНК 250/7,5 кВт 380В |
7,5 |
19,8 |
ЭНК-2 |
4,1 |
|||
|
Электронагреватель ЭНК 315/3,0 кВт 380В |
315 |
3,0 |
380 |
7,9 |
560 |
ЭНК-3 |
4,2 |
|
Электронагреватель ЭНК 315/9,0 кВт 380В |
9,0 |
23,7 |
ЭНК-2 |
5,1 |
|||
|
Электронагреватель ЭНК 315/18,0 кВт 380В |
9,0+9,0 |
23,7+23,7 |
ЭНК-2 |
8,0 |
Схемы подключения круглых электрических нагревателей серии ЭНК (с характеристиками распродажи)
Данные схемы подключения являются примером обязательного использования биметаллических термо-выключателей защиты нагревателя от перегрева t1, t2 в цепях управления силовой частью ЭНК. Категорически запрещается подключать электронагреватель без использования в его цепи управления силовой частью биметаллических термовыключателей защиты от перегрева t1, t2, в противном случае это может привести к пожару или несчастному случаю.

Не представленные в наличии модели доступны к поставке под заказ
Всю необходимую информацию также можно получить по телефону «горячей линии»
+ 7 800 200 93 96или по телефону
+7 800 505 08 67 получить консультацию